Принцип тепловой работы мартеновской печи
Для повышения температуры горения топлива в мартеновских печах используется предварительный нагрев газообразного топлива и необходимого для его сжигания воздуха до 1100 – 1200оС путем регенерации тепла отходящих из рабочего пространства печи газов. При этом температура факела может достигать 1850 – 1900оС.
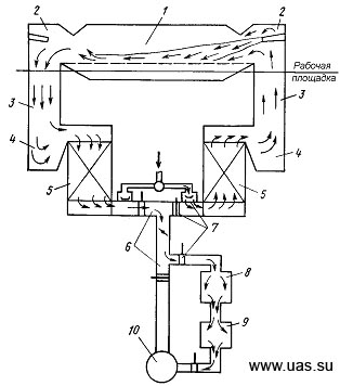
Принцип тепловой работы мартеновской печи поясняется схемой на рисунке 15.1.

Рисунок 15.1 – Схема мартеновской печи: 1 – рабочее пространство; 2 – головки; 3 – вертикальные каналы; 4 – шлаковики; 5 – регенеративные нагреватели; 6 – борова; 7 – реверсивные и регулирующие клапаны; 8 – котел-утилизатор; 9 – газоочистка; 10 – дымовая труба; купить профессиональный шуруповерт аккумуляторный
Допустим, что первоначально нагретой является насадка правой пары регенераторов. В этом случае воздух и газ, проходя через эти регенераторы, нагреваются до температуры 1100 – 1200оС и поступают в рабочее пространство мартеновской печи.
В рабочем пространстве происходит их смешивание и сгорание топлива с образованием факела, имеющего температуру 1800 – 1900оС. Продукты горения удаляются из рабочего пространства через левую головку мартеновской печи при температуре 1650 – 1750оС. Проходя через вертикальные каналы и шлаковики, продукты сгорания топлива поступают в левую пару регенеративных нагревателей при температуре 1500 – 1550оС. Проходя через насадку регенераторов, продукты горения нагревают ее, после чего по боровам подаются к дымовой трубе.
Через 10 – 20 минут насадка правых регенераторов остывает и не обеспечивает необходимого нагрева газа и воздуха. К этому моменту насадка левых регенераторов нагревается до высокой температуры. Поэтому, для сохранения температуры факела в рабочем пространстве печи на требуемом уровне, направление движения воздуха и газа меняют (перекидка клапанов). После этого левая пара регенераторов используется для нагрева газа и воздуха, а правые регенераторы нагреваются за счет тепла отходящих из рабочего пространства печи газов.
При использования для отопления печи высококалорийного топлива (природный газ, мазут и др.) необходимость в его нагреве отпадает. При этом мартеновская печь может работать с одной парой регенераторов для нагрева воздуха.