Основные элементы конструкции мартеновской печи
Мартеновские печи в зависимости от их конструкции могут быть стационарными и качающимися.
В зависимости от массы металлической шихты мартеновские печи делят на печи малой (< 125 т), средней (125 – 300 т) и большой (> 300 т) вместимости.

Рисунок 15.2 – Конструкция стационарной мартеновской печи: А – поперечный разрез рабочего пространства; Б – разрез по головкам печи; 1 – рабочее пространство; 2 – свод; 3 – подина; 4 – сталевыпускное отверстие; 5 – отверстие в задней стенке для слива шлака; 6 – завалочные окна; 7 – передняя стенка; 8 – задняя стенка; 9 – головка; 10 – вертикальные каналы; 11 – шлаковик; 12 – регенераторы (воздушный и газовый); 13 – насадка газового регенератора; 14 – борова; 15 – рабочая площадка
Основные элементы конструкции мартеновской печи показаны на рисунке 15.2.
Относительно уровня рабочей площадки, которая обычно располагается на 5 – 7 м выше нулевой отметки цеха, конструкцию мартеновской печи принято делить на верхнее и нижнее строение.
Верхнее строение, расположенное выше рабочей площадки, включает рабочее пространство и головки печи. К нижнему строению, расположенному под рабочей площадкой, относятся шлаковики, регенераторы и борова с перекидными устройствами. Под рабочей площадкой обычно располагаются также вентиляторы для подачи через регенераторы в печь воздуха и другое вспомогательное оборудование.
Рабочее пространство мартеновской печи (рисунок 15.3) ограничено сверху сводом, снизу подом (подиной), по бокам стенками (передней и задней).

Рисунок 15.3 – Поперечный разрез рабочего пространства мартеновской печи
На границе задней стенки и подины в центральной части печи расположено сталевыпускное отверстие, предназначенное для выпуска из печи металла и шлака. Задние стенки крупных мартеновских печей могут иметь отверстия для удаления шлака из печи по ходу плавки. В передней стенке печи имеются завалочные окна, через которые в рабочее пространство загружают твердую шихту и по специальному приставному желобу заливают жидкий чугун. В торцах рабочего пространства расположены головки, предназначенные для организации сжигания топлива, а также отвода из рабочего пространства продуктов горения.
Схема футеровки подины основной мартеновской печи показано на рисунке 15.4. Заднюю и переднюю стенки основной мартеновской печи выкладывают из магнезитового кирпича. Своды основных мартеновских печей обычно выполняют из магнезитохромитового кирпича. Наиболее удачной конструкцией свода является распорно-подвесная (рисунок 15.5).

Рисунок 15.4 – Устройство подины основной мартеновской печи: 1 – наварка (магнезитовый порошок, молотый обожженный доломит); 2 - магнезитовый кирпич; 3 – шамотный кирпич; 4 – тепловая изоляция (пористый шамот); 5 – стальной лист

Рисунок 15.5 – Узел крепления подвесного свода рабочего пространства мартеновской печи: 1 – опорная планка; 2 – поперечный прут диаметром 32 мм, выполненный по профилю свода; 3 – усиленная подвеска из стали 2Х18Н9Т; 4 – штырь диаметром 16 мм, впрессованный в усиленную подвеску; 5 – крюк-подвеска диаметром 16 мм из стали Ст3; 6 – стальная прокладка толщиной 0,5 мм
Кладка рабочего пространства мартеновских печей, несмотря на значительную ее толщину, не может эксплуатироваться без металлического каркаса. Это объясняется тем, что она выполняется из отдельных кирпичей, слабо связанных друг с другом, имеет несимметричную форму и в связи с расширением при нагреве в ней возникают значительные усилия.
Для сохранения формы и размеров основных элементов печи детали каркаса, которые подвергаются наибольшему тепловому воздействию, изготовлены в виде пустотелых стальных охлаждаемых конструкций (кессоны газовых пролетов, пятовые балки, рамы и заслонки завалочных окон, холодильники в верхней части задней стенки, в столбиках между завалочными окнами, амбразурах шлаковых отверстий и кислородных фурм и др.). При этом используют как водяное, так и испарительное охлаждение.
Шлаковики служат для улавливания плавильной пыли и шлаковых частиц, которые выносятся отходящими газами из рабочего пространства, и тем самым предохраняют насадки регенераторов от засорения. Сечение шлаковика гораздо больше сечения вертикального канала. Поэтому при попадании дымовых газов в шлаковик их скорость резко уменьшается и, кроме того, изменяется направление движения газов. Это приводит к тому, что 50 – 70% плавильной пыли оседает в шлаковиках. Однако, в шлаковиках осаждается наиболее крупная пыль, 10 – 25% пыли оседает в насадках регенераторов, а наиболее мелкая пыль уносится в дымовую трубу.
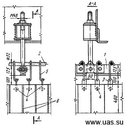
С целью интенсификации процесса выплавки стали в мартеновских печах используют продувку ванны кислородом. Для продувки используют кислородные фурмы, конструкция которых показана на рисунке 15.6. Фурмы вводят в рабочее пространство печи через охлаждаемые водой амбразуры, установленные в своде.
Фурма состоит из трех концентрически расположенных стальных труб и головки с соплами, изготовленной из литой, точеной или штампованной меди.
В зависимости от конструкции головки по центральной трубе подается вода или кислород. Наибольшее распространение получили фурмы с шестью соплами, расположенными под углом 30о к вертикали. При уменьшении числа сопел и угла их наклона уменьшается реакционная зона, реакция обезуглероживания протекает более бурно с большим числом всплесков и брызг.
Для уменьшения разбрызгивания шлака и металла сопло фурмы обычно опускают до границы раздела шлак-металл.
В зависимости от интенсивности продувки в своде печи устанавливают от одной до пяти кислородных фурм. Для подъема и опускания фурм используют индивидуальные электрические лебедки, установленные на специальных площадках по обе стороны печи.

Рисунок 15.6 – Шестисопловая сводовая кислородная фурма