Упрочнение стальных изделий потоком движущегося воздуха
В.И. Алимов, О.В. Олейникова, Т.Е. Багликова
УДК 621.785.796
Введение и анализ публикаций по теме исследования
Наиболее давняя информация об использовании воздушного потока в качестве закалочной среды относится к периоду производства классических булатов. П.П. Аносов, нашедший утерянные секреты изготовления древних булатов, использовал газовый поток для их закалки [1].
В 70-х прошлого столетия годах была доказана возможность закалки на мартенсит углеродистых сталей при помощи газового потока со сверхзвуковой скоростью (до 1,6 М, где М – число Маха), а легированных – и при меньших скоростях [2]; для этой цели были использованы газовые спрейеры, имеющие высокую скорость подачи газа при небольшом давлении [3].
Воздух является легкодоступной и экономически выгодной охлаждающей средой и его использование для упрочнения стальных изделий может быть перспективным направлением совершенствования закалочных сред, применяемых при термообработке. Основным недостатком воздуха как закалочной среды, является его недостаточная охлаждающая способность, однако в практике термообработки встречается достаточно много случаев, когда этот недостаток становится незначимым (охлаждение сравнительно тонких изделий – проволоки, ленты, пластин и т.д., легирование стали недефицитными легирующими элементами, повышающими устойчивость переохлажденного аустенита, охлаждение с температур, значительно превышающих обычно применяемые, как это имеет место, при термомеханической обработке и т.д.).
О положительных результатах при использовании воздуха в качестве охлаждающей среды свидетельствуют данные, полученные при воздушной сорбитизации проволочной заготовки как с прокатного [4], так и отдельного нагрева [5-9]. Для стали с марганцем, повышающем устойчивость переохлажденного аустенита, такое охлаждение часто приводит к образованию мартенситных структур, что даёт основание использовать воздух и при упрочнении закалкой. Исследование воздушного охлаждения катанки из стали ШХ15 [10] показало возможность получения сорбитных структур при скорости воздушного потока 20-100 м/с, что было реализовано на Белорецком меткомбинате[11].
Постановка задачи исследования
В настоящей работе изучали возможность упрочнения движущимся воздухом при закалке тонких изделий из низколегированной хромомарганцевой стали, обладающей ещё более высокой устойчивостью переохлаждённого аустенита [12] и разделяющимися областями перлитного и бейнитного превращений.
Основная часть
Для исследования использовали полосовые образцы в виде карт размером 150x50 мм толщиной 5,5 мм (ГОСТ 14959; 0,51 % С, 0,98 % Cr, 0,89 % Mn; Ас1 = 750оС, Ас3 = 775оС). В исходном состоянии сталь имела структуру сорбитообразного перлита. Аустенитизацию образцов-карт проводили в электродной печи-ванне типа СВС при температурах 790 – 950оС; суммарную длительность нагрева назначали из расчета 25 с на 1 мм сечения. Образцы охлаждали в воздушном потоке, создаваемым промышленным вентилятором. Для сравнения часть образцов закаливали в масле от температуры аустенитизации 850 – 860оС, рекомендуемой для этой стали. Упрочнённые образцы отпускали при 475 ± 5оС в печи с воздушной атмосферой в течение 3 часов. После изучения твёрдости и микроструктуры определяли предпочтительный интервал температур нагрева под закалку. Для уточнения этого интервала определяли на закалочных и отпускных разрывных образцах диаметром 3,0 мм (тип ІІІ, ГОСТ 1497-84) механические свойства (
в,
0,2,
5,
), контролируемых на изделиях из этой стали.
На рис. 1 показана зависимость твёрдости упрочнённых потоком воздуха и отпущенных образцов; пунктирные линии на рис. 1 – это нижняя (38 HRC) и верхняя (46 HRC) граница допустимых значений твёрдости на готовых специальных изделиях из этой стали.

Рисунок 1 – Твёрдость образцов из стали 50ХГ, охлаждённых потоком движущегося воздуха, в зависимости от температуры аустенитизации.
Видно, что в изученном интервале температур нагрева твёрдость после закалки и отпуска изменяется немонотонно, достигая максимума при 860 – 900оС, хотя требуемая твёрдость может быть получена в несколько более широком интервале температур (850 – 910оС). После закалки в масле от температуры 850-860оС и отпуска получали твёрдость 43 – 46 HRC. Микроструктура стали при увеличении x500 как после закалки в масле, так и после охлаждения потоком движущегося воздуха представляла собой троостосорбит отпуска.
К готовым специзделиям из полосовой стали 50ХГ, изготавливаемым вырубкой с последующей закалкой и отпуском, предъявляются следующие требования:
вв > 1300 Н/мм2,
в0,2 > 1100 Н/мм2,
5 > 7 %,
> 35 %. Как следует из рис. 2, такие значения свойств в полной мере достигаются и при использовании для закалки потока движущегося воздуха.

Рисунок 2 – Механические свойства образцов из стали 50ХГ после закалки потоком движущегося воздуха и отпуска (чёрточки у осей ординат – свойства стали после закалки в масле)
Изменение температуры аустенитизации даже в этом сравнительно узком интервале температур (860–900оС) может привести к некоторому изменению комплекса свойств.
Обращает внимание также и тот факт, что коробление образцов-карт при упрочнении воздушным потоком заметно меньше, чем при закалке в жидких средах, что может сократить объем дополнительных операций после термической обработки.
Использование потока движущегося воздуха в качестве закалочной среды сопряжено с созданием специального оборудования: так, например, для протяжных изделий типа проволоки, ленты в качестве такого оборудования служат перемещающиеся термостаты, входящие в состав агрегатов (а.с. СССР №№ 1076472, 1291613, пат. РФ № 1782245, пат. України №№ 12547, 13008, 55295, 59744А, 60757А, 63770А).
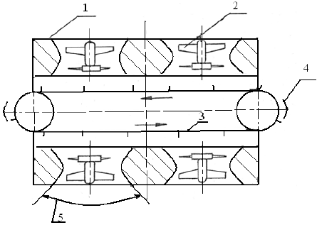
Для закалки штучных изделий типа изученных образцов-карт при их массовом производстве на уровне технического проекта разработана воздушная камера, схема которой показана на рис. 3.

Рисунок 3 – Схема устройства воздушной камеры для закалки изделий потоком движущегося воздуха: 1 – корпус камеры, 2 – вентиляторы, 3 – конвейер с подвесками для изделий, 4 – концевые выключатели, 5 – угол сканирования
Камера содержит корпус 1, в котором находятся вентиляторы 2 и кон-вейер с подвесками 3, оснащённый концевыми выключателями 4. Каждый из вентиляторов 2 установлен с возможностью поворота в пределах угла сканирования 5. С помощью реверсивных приводов вентиляторов 2, установленных в корпусе 1, создают необходимая скорость движения воздушного потока, через который движется конвейер с подвесками 3. С помощью реверсивных приводов конвейера с подвесками 3 и концевых выключателей 4 конвейер с подвесками 3 при необходимости совершает возвратно-поступательные движения. Регулирование расхода воздуха и направления воздушного потока осуществляют скоростью вращения лопастей вентиляторов, направлением их вращения и перемещением в пределах угла сканирования 5 (Патент на корисну модель по заявці № u 2011 05588 від 04.05.2011).
Выводы
- Установлено, что при использовании в качестве закалочной среды потока движущегося воздуха на тонкостенных изделиях из стали 50ХГ может быть получен комплекс свойств, предъявляемых к специзделиям из этой стали:
вв > 1300 Н/мм2,
в0,2 > 1100 Н/мм2,
5 > 7 %,
> 35 %, HRC 38 – 46. - Показано, что температура аустенитизации стали перед закалкой потоком движущегося воздуха выше, чем перед закалкой в масле, и составляет 850 – 910оС; это необходимо для еще большего повышения устойчивости переохлажденного аустенита, обеспечивающего минимизацию критической скорости закалки при воздушном охлаждении.
СПИСОК ЛИТЕРАТУРЫ
- Малинов Л.С. Ресурсосберегающие экономнолегированные сплавы и упрочняющие технологии, обеспечивающие эффект самозакалки: монография / Л.С. Малинов, В.Л. Малинов. – Мариуполь: Изд-во «Рената», 2009. – 568 с.
- Малинов Л.С. Влияние скоростного воздушного потока в процессе термообработки на структуру и свойства сталей / Л.С. Малинов, В.Г. Сорокин // Металлургия и коксохимия, научн.-техн. сб. Термическая обработка стали. № 36. – К.: «Техника», 1973. – С.8-10.
- Шулаев В.М. Вакуумная элеваторная электропечь с закалкой в инертном газе изделий из высоколегированных сталей / В.М. Шулаев, Н.Г. Головко, Л.Н. Дейнеко [и др.] // ОТТОМ-7. – т.2 – С. 44-49.
- Шаповалов С.И. Сорбитизация углеродной катанки в потоке непрерывного прокатного стана / С.И. Шаповалов, В.И. Алимов, Ю.С. Эстрин // Проблемы производства черных металлов. – К.: Техника, 1974. – С. 143-150.
- Алимов В. И. Влияние температуры аустенитизации на изотермический распад углеродистой стали / В. И. Алимов, С. И. Шаповалов // Известия вузов. Черная металлургия. – 1974, №8. – С. 86-89.
- Алимов В.И. Сорбитизация катанки из углеродистой стали с отдельного нагрева / В.И. Алимов, В.В. Белосветов, А.И. Максаков // Известия вузов: Черная металлургия. – 1987, № 6. – С.155-156.
- Алимов В.И. О новых методах термообработки стальной проволоки / В.И. Алимов, Н.И. Покровков, С.Г. Александрова // Донецк: ДПИ, 1994. – 27 с.
- Алимов В.И. Бессолевая сорбитизация проволоки / В.И. Алимов // Металлургия: Сб. научных трудов ДонНТУ. – Донецк: ДонНТУ, 1999.-С. 129-138.
- Алимов В.И. Закономерности распада переохлажденного аустенита в стальной проволоке при воздушном охлаждении / В.И. Алимов // Металлургия: Сб. научных трудов ДонНТУ. – Донецк: ДонНТУ, 2008. – С.256-264.
- Марцинив Ф.Б. Формирование структуры и свойств катанки при охлаждении высокоскоростными воздушными потоками / Ф.Б. Марцинив, А.А. Горбанев, А.Ю. Борисенко и др. // Металлургическая и горнорудная промышленность. – 2001. – № 6. – С. 66-70.
- Левченко Л.В. Развитие технологического процесса патентирования проволоки / Л.В. Левченко, А.Ю. Борисенко, К.П. Лохматов [и др.] // Металл и литье Украины. – 2006, № 1-2. – С. 48-52.
- Попова Л.Е. Диаграммы превращения аустенита в сталях и бетараствора в сплавах титана: Справочник термиста. – М.: Металлургия, 1991. – 504с.
Надійшла до редакції 26.10.2011
Рецензент к.т.н., доц. В.В. Кочура
© В.И. Алимов, О.В. Олейникова, Т.Е. Багликова