Использование отходов ферросплавного производства для легирования металла методом дугового глубинного восстановления
М. Ю. Проценко, С. В. Куберский, С. В. Семирягин
Донбасский государственный технический университет, Алчевск
Проведен сравнительный анализ различных технологических схем переработки марганецсодержащих отходов ферросплавного производства. Предложен метод дугового глубинного восстановления элементов из отходов ферросплавного производства в железоуглеродистые расплавы.
Проведено порівняльний аналіз різних технологічних схем переробки відходів, що містять марганець, феросплавного виробництва. Запропоновано метод дугового глибинного відновлення елементів із відходів феросплавного виробництва в залізовуглецеві розплави.
The comparative analysis different flowsheets of manganese wastes processing of ferro-alloy production is conducted. The method of arc deep renewal of elements from ferro-alloy production wastes in iron-carbon fusions is offered.
Одним из отличительных признаков производства черных металлов является образование огромных шлаковых отвалов, занимающих большие площади и оказывающих негативное влияние на экологическую обстановку.
Повышение конкурентоспособности металлопродукции может быть обеспечено снижением расхода сырьевых ресурсов, используемых при ее производстве. Поэтому переработка и утилизация шлаков и отходов металлургического производства является актуальным и обязательным элементом безотходной технологии, так как способствует ресурсосбережению, а также снижению загрязнений водного и воздушного бассейнов.
Особый интерес для металлургии представляют шлаки ферросплавного производства, которые содержат значительное количество ценных компонентов, используемых для рафинирования и легирования железоуглеродистых расплавов. Анализ различных видов отходов производства ферросплавов показал, что достаточно ценным металлургическим сырьем могут быть шлаки и шламы производства марганцевых ферросплавов.
Наиболее ценным компонентом марганцевых отходов является марганец, широко используемый для раскисления и легирования чугуна и стали. Содержание марганца в этих отходах превышает 10 %, и использование его при производстве ферросплавов в качестве марганецсодержащего сырья, а также других металлургических переделах будет способствовать значительному улучшению их технико-экономических показателей.
В данной работе предложен метод переработки шлака производства силикомарганца и шлама производства доменного ферромарганца с использованием дугового восстановления входящих в их состав полезных элементов непосредственно в железоуглеродистый расплав.
С целью ресурсосбережения и улучшения экологической обстановки, а также повышения эффективности переработки и утилизации ферросплавных отходов были проанализированы технологические схемы, используемые в настоящее время для обогащения отходов и извлечения из них ценных металлургических составляющих. Способы пневматической и магнитной сепарации, применяемые для обогащения ферросплавных шлаков с целью их дальнейшего использования в шихте для производства ферросплавов, являются достаточно сложными с точки зрения технологии и используемого оборудования. Кроме того, силикомарганец и силикаты марганца не обладают магнитными свойствами, плотность силикатов марганца близка к плотности других составляющих шлака, поэтому извлечение их из шлаков с использованием традиционных технологий затруднено [1]. В табл. 1 приведен примерный химический состав отвального шлака производства силикомарганца [2, 3].
Таблица 1 - Химический состав отвального шлака производства силикомарганца

На первом этапе было исследовано влияние низких температур на эффективность использования магнитной сепарации для обогащения шлака силикомарганцевого производства. Перед обогащением шлака силикомарганца производили его предварительное дробление и рассев. Для исследований использовали фракции –0,1; 0,1-0,63; 0,64-2,5; +2,5 мм. Магнитную сепарацию осуществляли с использованием постоянных магнитов, предварительно охладив шлак жидким азотом. Исследования производили в трех температурных интервалах, °С (–196)-(–150), (–150)-( –100), (–100)-(–50).
Предложенный метод позволяет произвести обогащение шлака силикомарганцевого производства по содержанию марганца на 30,5-66,47 %. Максимальное обогащение характеризует температурный интервал (–150)-(–100) °С при этом содержание марганца возрастает с 17 до 28,3 %, то есть на 66,47 % [4]. Достигнутое в результате обогащения содержание марганца в сырье отвечает его содержанию в промышленных марганцевых рудах, которые могут использоваться в ферросплавном производстве. Однако этот способ подготовки сырья требует дополнительных теоретических и экспериментальных исследований для разработки эффективной и конкурентоспособной технологии.
Следующий исследованный способ переработки силикомарганцевого шлака предполагал переплав его в смеси с восстановителем в медеплавильной электродуговой печи ДМ-0,5 Стахановского ферросплавного завода, для чего использовали шихту следующего состава, кг: шлак – 300; уголь тощий – 20; известняк – 40; стальная обрезь – 14. Среднее содержание марганца в исходном шлаке составило 13,6 %. Переплав смеси производили непрерывно, без догрузки дополнительных порций шихтовых материалов. В результате получено 17 кг сплава с содержанием 21 % Mg. Степень восстановления марганца составила около 9 %. Шлак после переплава получился однородный с содержанием (%) Mg 12,8-13,0 и SiO2 47,5-48,4 и практически не имел вкраплений угля и известняка.
За время работы печи было израсходовано 400 кВт/ч электроэнергии, что свидетельствует о крайне низкой эффективности данного способа. Только по расходу электроэнергии затраты на получение лигатуры предложенным способом более чем в 25 раз выше по сравнению с традиционной технологией производства ферромарганца, и, несмотря на относительно низкую стоимость шихты, перспектив такая технология не имеет.
Кроме отмеченных технологий была опробована схема извлечения марганца и кремния из шлака производства силикомарганца непосредственно в чугун методом дугового восстановления. Метод заключается в восстановлении компонентов шлака определенным восстановителем в условиях заглубленной в расплав электрической дуги.
На данном этапе работы был использован карботермический метод восстановления, наиболее распространенный при производстве ферросплавов. В качестве углеродсодержащего сырья использовали бой графитовых электродов. Провели две серии опытов, на воздухе и с использованием жидкого расплава. Рудно-восстановительная смесь состояла (%) из: шлака (производство силикомарганца) – 69; боя графитовых электродов – 23; жидкого стекла (связка) – 8.
На рис. 1 показан рудно-восстановительный блок, который сжигали на воздухе в графитовом тигле.

Рис. 1. Рудно-восстановительный блок со стальным электродом: 1 – рудно-восстановительная часть блока; 2 – стальной электрод
Сжигание блока производили при силе тока 100-250 А и напряжении 30-35 В. Время сжигания одного блока при этом колебалось в пределах от 96 до 202 с. Шлак производства силикомарганца содержал (%) Mn – 13,7, SiО2 – 46,9. Полученные данные о степени восстановления элементов из шлака производства силикомарганца представлены в табл. 2.
Таблица 2 - Степень восстановления элементов, %

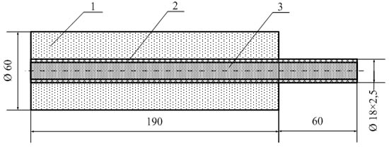
Последующие исследования проводили на жидком металле, расплавляемом в индукционной печи емкостью 60 кг. Диаметр рудной части используемых блоков колебался от 50 до 68 мм. Использовались стальные (диаметр 19 мм) и графитовые электроды в стальной трубке (диаметр 18*2,5 мм) с добавкой наполнителя (Al2O3 и MgO) для обеспечения синхронного расходования электрода и рудно-восстановительной смеси (рис. 2).
Сжигание блока производили при силе тока 300 А и напряжении 30-35 В. Время сжигания одного блока при этом колебалось в пределах от 220 до 603 с. Степень восстановления элементов на проведенных плавках колебалась в следующих (%) пределах: Mn 14,95-62,57; Si 14,74-79,94.

Рис. 2. Рудно-восстановительный блок с графитовым электродом: 1 – рудно-восстановительная часть блока; 2 – стальная трубка; 3 – электродная смесь
Аналогичные опытные плавки были проведены со шламом газоочисток производства доменного ферромарганца. Степень восстановления марганца при этом составила 78,96 %, а заметного восстановления кремния не наблюдалось.
В результате проведенной работы: проведен сравнительный анализ различных технологических схем переработки марганецсодержащих отходов ферросплавного производства и определены их преимущества и недостатки; установлена принципиальная возможность извлечения марганца и кремния из ферросплавных шлаков и шламов непосредственно в металлический расплав; опробованы различные конструкции и составы рудно-восстановительных блоков, а также технологические режимы обработки.
В дальнейшем предполагается: исследовать влияние добавок оксида кальция на состав блоков и его влияние на термодинамику и кинетику восстановления марганца; оценить эффективность использования кремния в качестве восстановителя; провести исследование теплового баланса дугового глубинного восстановления марганца.
Литература
1. Переработка шлаков и безотходная технология в металлургии / М. И. Панфилов, Я. Ш. Школьник, Н. В. Орининский, В. А. Коломиец и др. – М.: Металлургия, 1987. – 238 с.
2. Каблуковский А. Ф. Производство стали и ферросплавов в электропечах: Учебник для техникумов. – М.: Металлургия, 1991. – 335 с.
3. Крамаров А. Д., Соколов А. Н. Электрометаллургия стали и ферросплавов. – М.: Металлургия, 1976. – 376 с.
4. Исследование возможности обогащения шлака производства силикомарганца методом магнитной сепарации / М. Ю. Проценко, С. В. Куберский, С. Б. Эссельбах // Сб. научн. тр. ДонГТУ. Вып. 28. – Алчевск: ДонГТУ, 2009. – С. 254-259.