Новые решения для бесстопорной разливки стали на УНРС
Головко А.Г., Гордеев Е.И., Золотухин В.И., Провоторов Д.А.
ООО НПП «Вулкан-ТМ» г. Тула
Широкое применение современных технологий разливки стали, использование высокостойких футеровок, существенно повысило требования к оборачиваемости ковшей, сокращению времени их обслуживания и потребовало создания современных систем управления потоком металла, позволяющих при этом снизить удельные затраты на разливку.
Основные элементы современных систем управления потоком металла, поставляемые НПП «Вулкан-ТМ» представлены на рис. 1. Это механические системы: двух- и трёхплитные затворы, устройства быстрой смены стаканов, формованные огнеупоры, бетонные массы, системы продувки и защиты металла от вторичного окисления, устройства привода и управления.
Для решения поставленной задачи необходим выбор рациональной конструкции шиберной системы и оптимальный подбор расходуемого огнеупорного комплекта. Анализ эволюции развития шиберных систем, позволяет сформулировать требования к шиберным системам нового поколения для высокопроизводительных УНРС:
– многоточечный пружинный механизм равномерного прижатия огнеупорных плит,
– увеличенная долговечность узлов и деталей системы,
– наличие системы фиксации огнеупорных плит,
– минимизация человеческого фактора при эксплуатации системы,
– быстрота и удобство замены огнеупоров.
Применение современных технических решений даёт возможность обеспечить достаточную равномерность приложения прижимного усилия на огнеупорные плиты, обеспечить их самоустановку, компенсировать циклические температурные расширения и износ огнеупорных и металлических деталей затвора, снизить требования к точности изготовления деталей и узлов [3].

Рис. 1. Система управления потоком металла – оборудование и огнеупоры производства НПП «Вулкан-ТМ»
Определено, что требованиям, предъявляемым к шиберным системам последнего поколения соответствуют целый ряд современных моделей зарубежных производителей «Меtacon AG», «Vesuvius», «FloCon», «Interstop», «Knoellinger», «Uberzetta», «Sanac» и российского предприятия ООО НПП «Вулкан - ТМ», представленные на рис.2 [7,9]. В Украине совместную разработку устройств для дозированного перелива жидкого металла в условиях сталеплавильного производства ведут Донецкий национальный технический университет (ДонНТУ) и НПО «ДОНИКС» [2].
С целью оптимизации затрат разработан типоразмерный ряд унифицированных двухплитных шиберных затворов серии ВТМ и комплектов огнеупорных изделий в металлических обечайках и бандажах, осуществляется серийная поставка более чем на 15 предприятий РФ и СНГ.
Оригинальным решением для мини-УНРС является двухплитный шиберный затвор ВТМ-30, отличающийся компактностью и простотой обслуживания, что позволяет использовать его на ковшах ёмкостью до 30 т (рис.3). Оригинальная схема поджатия плит с опорными роликами, обеспечивает постоянное усилие прижима плит в точках, равноудаленных от оси разливочного канала, восстановление усилия сжатия между разливками, самоустановку плит.

Рис.2. Модели шиберных затворов, соответствующих современным требованиям
Таблица 1 – Технические характеристики шиберных затворов серии ВТ


Рис.3. Шиберный затвор ВТМ-30

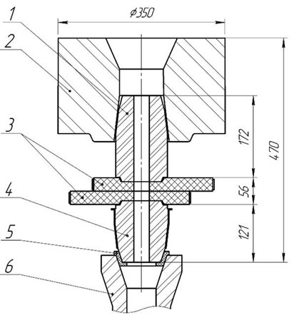
Рис. 4. Огнеупорный комплект затвора ВТМ-30:
1 – гнездовой блок, 2 – ковшевой стакан, 3 – шиберные плиты в обечайке, 4 – стаканколлектор в обечайке, 5 – уплотнительная вставка, 6 – защитная труба
Наряду с вышеуказанными преимуществами к отличительным особенностям конструкции относятся:
– кассетная замена огнеупоров в металлических обечайках непосредственно на ковше;
– усилие прижатия плит создается при взведении одного упругого элемента пружинно-торсионного механизма прижима плит.
– ручной привод перемещения подвижной каретки, либо возможность установки гидро- или электропривода по требованию заказчика;
– простота в изготовлении, монтаже;
– пружинно-торсионный механизм прижима плит;
– контроль работоспособности затвора на ковше без разборки шибера. Автовзведение прижимного механизма происходит при втягивании приводом направляющих подвижной каретки на опорные ролики независимых траверс.
Благодаря модульной конструкции, затворы серии ВТМ-30 адаптированы по обслуживанию и могут применяться на металлургических предприятиях с различными условиями эксплуатации. Модульное исполнение шиберного затвора в сочетании с кассетным принципом использования огнеупоров позволяет производить замену огнеупорного комплекса без снятия затвора с ковша, отпадает необходимость в шиберной мастерской.
Затворы серии ВТМ-30 прошли испытания и успешно эксплуатируются на ведущих мини-заводах России и стран ближнего зарубежья (ГУП «ЛПЗ» (Россия), «TSA-Steel Group» (Украина), «KSP Steel» (Казахстан) и др.
Несомненно, шиберные затворы ведущих западных фирм («Vesuvius», «Interstop» и др.) обладают целым рядом достоинств, в т.ч. связанных с удобством в эксплуатации и качеством сервисного обслуживания, но стоимость современных западных затворов и особенно огнеупоров к ним значительно превышает стоимость отечественных аналогов, в то время как принципиальных конструктивных решений, отличных от отечественных аналогов, не предлагается.
Следует так же отметить, что, масса быстросменных расходных огнеупоров для затворов серии «ВТМ» значительно меньше соответствующей им керамики шиберных затворов инофирм, что обеспечивает лучшие эргономические показатели и заметно снижает затраты на огнеупорный припас.
Приведенные технико-экономические расчеты и накопленный за 12 лет опыт эксплуатации шиберных систем серии «ВТМ» показал, что уровень применяемых в них технических решений, соответствует требованиям современных сталеплавильных производств и позволяет снизить затраты на шиберные затворы и расходуемые огнеупоры к ним в 1,5-2 раза по сравнению с предложениями ведущих инофирм.
Благодаря запатентованной технологии изготовления шиберных плит в металлических обечайках и бандажах в затворах серии ВТМ возможно использование шиберных плит как отечественных, так и зарубежных производителей.
Исходя из анализа современного состояния рынка шиберных огнеупоров для кассетных шиберных систем нового поколения, приведены результаты эксплуатации огнеупоров от различных производителей (табл.2), определены рекомендации по подбору огнеупорного припаса в зависимости от конкретных условий разливки (табл.3), что позволяет добиваться оптимальных технико-экономических показателей.
Таблица 2. Эксплуатация шиберных плит в затворах серии ВТМ

Таблица 3. Марки шиберных плит, критерии выбора

Накопленный опыт эксплуатации шиберных затворов серии ВТМ показал, что при использовании качественной шиберной керамики и достаточной подготовке обслуживающего персонала, применение шиберных систем серии ВТМ обеспечивает точное управление потоком разливаемого металла, позволяет получить требуемую многоплавочность огнеупоров, повышает оборачиваемость ковшей и улучшает технико-экономическую эффективность производства в целом.
Кроме шиберных плит в состав огнеупорного комплекта шиберного затвора серии ВТМ входят: гнездовой блок, ковшевой стакан и стакан-коллектор в металлической обечайке.
По согласованию с заказчиком возможна комплектная поставка уплотнительных вставок из пластичных огнеупорных материалов для защиты стыка защитная труба - стакан-коллектор.
Данные огнеупорные изделия изготавливаются на производственном участке НПП «Вулкан-ТМ» методом литья из низкоцементных огнеупорных масс с последующим виброупрочнением, сушкой и обжигом. Материалом для изготовления огнеупорных изделий служат готовые сухие огнеупорные массы производства зарубежных фирм, а также огнеупорные массы, изготовленные НПП «Вулкан-ТМ» из импортных компонентов. Композиции масс зависят от назначения изделия, требуемого качества и особенностей эксплуатации. Предприятие может изготавливать огнеупорные изделия любой конфигурации и габаритов массой до 200 кг, которые могут быть изготовлены в металлической оболочке по прогрессивной технологии и без неё. Используемый метод получения виброформованных огнеупоров позволяет быстро менять их конфигурацию и обеспечивать требуемую точность размеров. Прочность материала изделий до 90 МПа, пористость до 12-16%. По согласованию с заказчиком возможна поставка виброформованных изделий с добавлением металлической фибры, магнезиальной шпинели и других добавок [6].
В зависимости от объёма используемых ковшей, типоразмеров самих изделий и качества монтажа и обслуживания стойкость производимых гнездовых блоков достигает 20-40 плавок, стаканов-коллекторов 8-15 плавок, гнездовых стаканов 15-26 плавок.
Наряду с виброформованными огнеупорами НПП «Вулкан-ТМ» производит широкий спектр неформованных огнеупоров, к которым относятся набивные массы и огнеупорные бетоны нового поколения с модифицирующими добавками шамотного, муллитокремнеземистого, муллитового, муллитокорундового, корундового составов с добавками шпинели, хрома, циркона, карбида кремния, углерода, бадделеита и других материалов. Неформованные огнеупоры содержат модификатор, позволяющий синтезировать вторичный муллит при температурах 800 – 900 0С, повышающий термостойкость, прочность, плотность, металло- и шлакоустойчивость набивных масс и огнеупорных бетонов в процессе эксплуатации.
Для внедрения современных методов внепечной обработки НПП «Вулкан- ТМ» разработана и апробирована технология производства щелевых донных продувочных фурм для гомогенизации и рафинирования металла инертным газом, непосредственно в ковшах перед их разливкой.
Прошедшие успешную апробацию на ряде ведущих металлургических предприятий, таких как ООО «Промтрактор-Промлит (г. Чебоксары), ЗАО «Группа ЧТПЗ» (г. Челябинск), ЗАО «Азовэлектросталь» (г. Мариуполь), ОАО «Армапром» (г. Миргород) и др., продувочные фурмы показали максимальную стойкость 65 плавок при времени продувки 10-15 минут за плавку, которая напрямую зависит от условий их эксплуатации и обслуживания на каждом конкретном предприятии.
К последним разработкам относится конструкция продувочного моноблока, представляющего собой монолитный гнездовой блок со сквозными щелевыми пазами для подачи газа.
Достоинствами данного блока являются:
- отсутствие металлической оболочки и возможности прорыва газа;
- уменьшение износа;
- значительно большая рабочая поверхность и пространство для расположения щелей.
В качестве дополнительного предложения НПП «Вулкан-ТМ» реализует оснащение шиберных затворов системами раннего обнаружения шлака фирмы «ТЕХНОАП» (г. Москва), прошедшими испытания и успешную апробацию на ОАО «Северсталь» и ОАО «ММК» (г. Магнитогорск).
В настоящее время «Вулкан-ТМ» продолжает развиваться в направлении создания конкурентноспособных импортозамещающих конструкций. Новейшей разработкой фирмы являются системы быстрой смены калиброванных стаканов-дозаторов (марки УБС-30) и погружных стаканов (марки УБС-70) (рис.5-6), которые комплектуются отечественными узлами и огнеупорами и ориентированы на ведущих российских производителей огнеупорных изделий. По функциональным возможностям системы не уступают зарубежным аналогам (Interstop, Vesuvius, Flogates, Danieli).
Основными преимуществами данных конструкций являются:
– полностью механизированная замена стакана;
– длительность замены стакана – не более 1 с;
– возможность использования гидро, - электро, - пневмопривода;
– равномерность распределения нагрузки на перемещаемый стакан в течение всего времени его использования;
– увеличенный период планово-предупредительной замены упругих элементов за счет использования жаропрочных тарельчатых пружин;
– экономичность.

В настоящее время Вулкан-ТМ ведётся работа по внедрению рассмотренных устройств на ведущие металлургические предприятия России и ближнего зарубежья.
Новизна технических решений, рассмотренных в статье, защищена патентами на изобретения РФ №2256531, 2333073, 2311260, 2309183; свидетельствами на ПМ РФ №7915; 8642; 12886; патентами на ПМ РФ №56215; заявками на изобретение №2006131842, 2005141362, 2009141802/22.
Библиографический список
1. Еронько С.П., Быковских С.В. Разливка стали: Оборудование. Технология. К.: Техника. 2003. 216 с.
2. Опыт разработки шиберных устройств для технологических переливов стали / Еронько С.П., Цупрун А.Ю., Бедарев С.А., Яковлев Д.А., Потапов Е.П., Романова. Г.С. // «Черметинформация» Бюлл. «Черная металлургия». № 9. 2008. С. 81 – 87.
3. Опыт эксплуатации сталеразливочных систем нового поколения и огнеупоров к ним / А.Г. Головко, Е.И. Гордеев, В.И. Золотухин., С.Г. Полубесов, Д.А. Провоторов // Новые огнеупоры. № 1. 2009. С. 100-101.
4. Пилющенко В.Л., Еронько С.П., Шестопалов В.Н. Бесстопорная разливка стали. К.: Техника. 1991. 179 с.
5. Современные системы бесстопорной разливки стали для мини-металлургических заводов и литейных производств / В.И. Золотухин, А.Г. Головко, С.Г. Полубесов, Г.М. Варяш, Е.И. Гордеев, Н.А. Гордеева, // Металлургические процессы и оборудование. 2006 № 3. 2006. С.33-38.
6. Шиберные сталеразливочные системы и комплекты огнеупоров к ним / А.Г. Головко, Е.И. Гордеев, В.И. Золотухин., С.Г. Полубесов, Д.А. Провоторов // Новые огнеупоры. №. 3. 2008. С. 90-95.
7. Interstop. Flow Control Technology // Product information booklet. 4 p.
8. Modern metal flow gate control systems / Zolotukhin V.I., Provotorov D.A. // METAL 2008. «Hradec nad Moravici». 2008.
9. Vesuvius SEM2085 tube changer device for slab caster // Product information booklet. 4 p.
© Головко А.Г., Гордеев Е.И., Золотухин В.И., Провоторов Д.А. 2010