Производство чугуна в электропечах
В настоящее время в электропечах выплавляется 1 – 2% чугуна. Главным недостатком этих процессов является высокий расход электроэнергии, который при использовании неподготовленной шихты составляет более 2000 кВт•час/т жидкого чугуна.
Поэтому выплавка чугуна в электропечах обычно ведется с использованием предварительного нагрева шихтовых материалов и частично восстановленной металлической шихты. При использовании богатых руд и окатышей расход электроэнергии на плавку нагретой и восстановленной на 50% шихты снижается до 700 – 1300 кВт•час/т. При переработке бедных кремнеземистых руд он составляет 1500 – 1800 кВт•час/т чугуна.
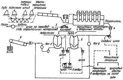
Примером предприятия, использующего технологию выплавки чугуна в руднотермических электропечах, является Побужский ферроникелевый комбинат (Кировоградская область, Украина). Технологическая схема этого предприятия показана на рисунке 5.8.

Рисунок 5.8 – Технологическая схема Побужского ферроникелевого комбината: 1 – трубчатая вращающаяся печь; 2 – вагон-кюбель; 3 – руднотермическая электропечь; 4 – чугуновозный ковш; 5 – шлаковая чаша; 6 – кислородный конвертер с кислой футеровкой; 7 – кислородный конвертер с основной футеровкой; 8 – разливочная машина.
В состав завода входят: рудник с добычей руды открытым способом, склад руды, цех подготовки руды и обжига, плавильный цех, кислородная станция, ремонтно-механический и железнодорожный цех.
После доставки с рудника руду взвешивают на автомобильных весах и разгружают на складе завода. Кранами перегружателями из этой руды формируют три штабеля массой 40 – 50 тыс. т каждый. При этом один штабель отрабатывают, один формируют и один находится в запасе. На заводской склад поступает также используемый в качестве восстановителя антрацитовый штыб, известняк и железная руда.
После операции дробления руду, восстановитель и флюсы подают на шихтарник, откуда через систему весоизмерителей и дозаторов загружают в трубчатые вращающиеся печи с установленными в них мазутными горелками.
Для нагрева и восстановления шихты используют трубчатые вращающиеся печи со следующими характеристиками: длина 70 м, диаметр 4,5 м, полезный объем 820 м3, скорость вращения 0,4 – 1,2 об/мин, угол наклона 3о, высота опорных колец 1,15 м.
Печи футерованы кирпичом марки ЦМ, толщина кладки 300 мм. Каждая печь имеет четыре пары опорных роликов, а также два контрольных (опорных). Установленная мощность главного привода 250 кВт.
Ниже представлена сменная режимная карта работы одной из трубчатых печей завода:
- Температура огарка, К - 1100
- Состав шихты, %:
- сухая руда - 100
- известняк - 29
- штыб - 7,5
- Количество пыли из электрофильтров, т/смена - 30
- Температура отходящих газов, К - 600
При работе трубчатых печей проводят ежечасный анализ отходящих газов на содержание СО, СО2 и О2, контролируют разряжение, давление мазута и его температуру, давление и расход воздуха, число оборотов печи и регистрируют ее простои.
Горячий огарок из бункеров трубчатых печей футерованными вагонами-кюбелями транспортируют на плавку в электропечи.
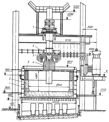
Электропечи Побужского ферроникелевого комбината по принципу работы относят к трехфазным руднотермическим печам прямого действия. Печь имеет сварной герметичный кожух овальной формы, закрыта сводом, через который проходят шесть самоспекающихся электродов, расположенных в линию. Электропечь получает питание от трех однофазных трансформаторов. Печь имеет три шлаковые и три металлические летки.
Ниже дана характеристика руднотермической электропечи Побужского ферроникелевого комбината:
- Мощность, МВ•А - 48
- Пределы изменения вторичного напряжения, В - 297 – 500
- Диаметр электрода, м - 1,2
- Расстояние между осями электродов, м - 3,2
- Рабочий ход электродов, м - 1,2
- Габаритные размеры, м:
- длина - 24,7
- ширина - 9,5
- высота - 4,8
- Площадь пода, м2 - 220
Общий вид руднотермической электропечи Побужского ферроникелевого комбината представлен на рисунке 5.9. Для повышения стойкости углеграфитовой футеровки подины печь эксплуатируется в гарниссажном режиме. Режимная карта сменной работы промышленной электропечи приведена ниже:
- Расход электроэнергии на 1 т сухой руды, кВт•час - 780
- Уровень металла в печи, м - 0,55
- Температура металла, К - 1550
- Перепуск электродов, м - 0,1
- Уровень жидкой ванны, м - 2,2

Рисунок 5.9 – Общий вид промышленной руднотермической печи Побужского ферроникелевого комбината: 1 – кожух печи; 2 – футеровка; 3 – свод; 4 – уплотнение электрода; 5 – гибкая подвеска; 6 – токоподвод; 7 – гидравлический перепуск электродов
Из руднотермической печи природнолегированный чугун (электропечной ферроникель) состава, %: 2,0 – 2,5 C, 4 – 6 Si, 0,1 – 0,2 Mn, 4 – 5 Ni, 1,3 – 1,7 Cr, 0,1 – 0,25 S, 0,1 – 0,15 P при температуре 1230 – 1350оС периодически выпускают в 40-т ковши, где проводят десульфурацию предварительно расплавленной кальцинированной содой. После удаления ковшевого шлака металл сливают в 50-т кислородный конвертер с кислой футеровкой, где проводят обескремнивание до содержания кремния 0,7 – 0,9%. После этого металл при температуре 1450 – 1500оС переливают в кислородный конвертер с основной футеровкой, где проводят завершающий этап рафинирования с использованием в качестве охладителя известняка.
Товарный ферроникель транспортируют к разливочным машинам, где разливают в чушки массой 50 – 75 кг.