Технология изготовления отливок
Для изготовления отливок центробежным способом применяют различные литейные формы: металлические, песчаные, комбинированные (металлические с песчаными стержнями), керамические, оболочковые по выплавляемым моделям и др. Формы могут быть предназначены для изготовления отливок на машинах с горизонтальной и вертикальной осью вращений формы, для длинных или коротких отливок цилиндрической формы, для получения фасонных отливок. Конструкция формы зависит от характера производства (единичное, серийное, массовое).
Дозирование расплава
Точность массы и толщины стенок отливок со свободной поверхностью при центробежном литье зависят от точности дозирования. При работе с неподвижным заливочным устройством расплав дозируют по объему, массе, переливу избытка металла и измерением положения уровня свободной поверхности.
Дозирование по объему проводится мерными ковшами, футерованными по шаблону. Требуемый уровень расплава в ковше определяется меткой или уступом в футеровке. Этот способ не отличается точностью, так как футеровка ковша разрушается, на поверхности расплава может находиться шлак и трудно точно установить уровень расплава в ковше.
Дозирование по массе осуществляют с помощью весов различной конструкции, к которым подвешен ковш. Хорошей точностью обладают крановые тензовесы. В них масса расплава регистрируется преобразователями – тензосопротивлениями, наклеенными на скручивающийся или растягивающийся упругий валик. Сигнал от преобразователя подается на регистрирующий прибор, который фиксирует изменение массы ковша, начиная с момента заполнения его расплавом. Погрешность взвешивания расплава на тензовесах составляет 0,1 – 1%.
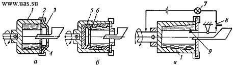
Дозирование по переливу избытка расплава осуществляется так, как это показано на рисунке 6.5, а,б. Между формой 1 и крышкой 3 устанавливают шайбу 2, диаметр отверстия которой равен внутреннему диаметру отливки. Излишек расплава выливается через отверстие в этой шайбе в полость 4 (см. рисунок 6.5, а) или через калибровочное отверстие 6 в футеровке формы в полость формы 5 (см. рисунок 6.5, б).
Дозирование измерением положения уровня свободной поверхности расплава в форме осуществляется с помощью специального устройства (рисунок 6.5, в). В форму 1 вводится поплавок 9, с помощью которого устанавливается нужный размер толщины стенки отливки. Когда в процессе заливки стенка отливки достигает поплавка и перемешает его, контакт 8 замыкается. При этом загорается лампа 7, что является сигналом на прекращение заливки.

Рисунок 6.5 – Способы дозирования расплава: а, б – варианты дозирования по переливу избытков расплава; в – дозирование по положению уровня свободной поверхности; 1 – форма; 2 – шайба; 3 – крышка; 4, 5 – полость для слива излишка металла; 6 – калиброванное отверстие; 7 – сигнальная лампа; 8 – контакт; 9 – поплавок
Из рассмотренных способов наибольшей точностью обладает способ дозирования по массе. При производстве чугунных и стальных отливок в металлических формах обычно используют сыпучие теплоизоляционные покрытия. Перед заливкой форму очищают от остатков теплоизоляционного покрытия сжатым воздухом и нагревают до 150 – 200оС. Такую температуру изложницы поддерживают и при последующих заливках. Затем форму закрывают крышкой, включают двигатель машины и с помощью лотка засыпают в изложницу сыпучий теплоизоляционный материал – сухой песок, просушенный и просеянный через сита № 0063 и № 005. Ниже представлены сведения о рекомендуемой толщине слоя покрытия при изготовлении отливок с разной толщиной стенки:
Скорость заливки является важным параметром технологического процесса, влияющим на качество отливки. При небольшой массовой скорости заливки в отливке возможно возникновение таких дефектов, как спаи и неслитины. Для получения качественных отливок со свободной поверхностью во всех случаях необходимо, чтобы в процессе заливки толщина слоя затвердевшего металла была меньше толщины слоя залитого расплава. Для этого вначале заполнения формы металлом заливку ведут с высокой скоростью, которую затем снижают. Этим создаются условия для направленного затвердевания отливки, снижаются давление на затвердевающую оболочку и интенсивность развития ликвационных процессов.