Литье с магнитодинамической подачей металла в форму
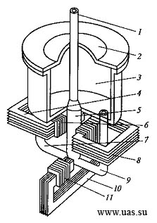
Процесс, похожий на литье под низким давлением, осуществляют, используя магнитодинамический принцип подачи расплава в форму. По одному из вариантов магнитодинамического насоса расплав из тигля 3 (рисунок 5.4) попадает в металлопровод 1 (центральнай канал) через два боковых вертикальных канала 7 и 9, а также через горизонтальные каналы. Участок соединения каналов расположен в межполюсном зазоре электромагнита 10. При включении обмоток индукторов в сеть переменного тока в металле возникает электрический ток, который, взаимодействуя с внешним магнитным потоком, создает давление, действующее на расплав.

Рисунок 5.4 – Схема магнитодинамического насоса: 1 – металлопровод; 2 – крышка печи; 3 – тигель с расплавом; 4, 8 – индукторы; 5 – центральный канал; 6 – обмотка индукторов; 7, 9 – боковые каналы, 10 – электромагнит; 11 – обмотки магнита
При наличии двух индукторов раздельное управление электромагнитными системами обеспечивает различные функциональные возможности такой установки.
- Режим насоса – при синфазном включении индукторов и электромаг-нита металл из печи по боковым каналам поступает в центральный канал – магнитопровод под некоторым давлением, величина которого определяется электрическими параметрами индукторов и электромагнита.
- Режим стопора – при реверсивном включении электромагнита направление движения металла изменяется на обратное. Выбором режимов работы индукторов и электромагнита можно поддерживать необходимый уровень металла в металлопроводе.
- Режим хранения – при противофазном включении индукторов через металл в каналах протекает удвоенный ток, а металл циркулирует в ванне печи, поступая через один боковой канал и вытекая через другой. Выбором режима работы индукторов можно поддерживать необходимую температуру металла в печи.
Общими признаками этого процесса с литьем под низким давлением являются величины скоростей течения металла в форме и сходная методика определения гидравлических и тепловых параметров литья. Однако, в отличие от установок с газовым давлением, при этом способе не требуется герметизация металлораздатчика, что позволяет доливать металл в металлораздатчик без остановки процесса литья. К дополнительным преимуществам магнитодинамического процесса относятся следующие:
- отсутствие сжимаемой газовой среды в камере установки упрощает реализацию необходимых режимов литья;
- повышенная, по сравнению с литьем под низким давлением, точность выполнения заданных режимов из-за меньшей инерционности электромагнитного воздействия;
- улучшенные условия регулирования тепловых условий литья (можно обеспечить перегрев расплава непосредственно в канале металлопровода).
К отличиям негативного характера относятся: большая опасность выделения растворенного в расплаве газа и попадания его в отливку из-за отсутствия избыточного давления в ванне расплава, а также большая сложность эксплуатации установок.