Процессы и оборудование для внепечной обработки стали
Огнеупоры для агрегатов «ковш-печь»
Одной из основных затратных статей при внепечной обработке стали в агрегатах «ковш-печь» является удельный расход огнеупоров, который существенным образом зависит от рационального выбора номенклатуры изделий и условий их эксплуатации и ремонта.
Оптимизация выбора огнеупорных материалов для сталеразливочного ковша в агрегатах «ковш-печь» является актуальной задачей, при решении которой необходимо учитывать не только общие принципы построения футеровки, но также принимать во внимание условия эксплуатации ковшей, как неотъемлемого элемента технологической цепочки всего сталеплавильного цеха. К числу главных факторов, которые необходимо учитывать при конструировании футеровки ковша, следует отнести:
- удельную стоимость огнеупоров и их гарантируемое качество (стойкость);
- способ изготовления и методы ремонта элементов футеровки (в том числе промежуточных);
- методы контроля износа элементов футеровки в ходе эксплуатации;
- степень влияния футеровки на качество стали (загрязненность неметаллическими включениями);
- вероятность быстрого аварийного разрушения футеровки в экстремальных условиях.
Учитывая стремление большинства сталеплавильщиков к максимальному снижению удельного расхода огнеупоров, следует считать, что одним из базовых принципов конструирования футеровки должен быть принцип обеспечения равной и высокой стойкости различных участков футеровки и универсальности заменяемых отдельных элементов [294, 295].
Обобщая известные данные по характеру износа футеровки и огнеупорных элементов сталеразливочных ковшей агрегатов «ковш-печь», выделим наиболее быстро и неравномерно изнашиваемые зоны:
- зона шлакового пояса и область, прилегающая к шлаковому поясу снизу;
- зона контакта футеровки с падающим из печи металлом (днище или нижняя часть стенки);
- зона контакта футеровки (стена) с быстро движущимися восходящими потоками (при донной продувке инертным газом);
- область днища, непосредственно прилегающая к продувочному узлу;
- продувочный узел и гнездовой блок.
На практике скорость износа вышеперечисленных зон достаточно сильно различается между собой и в несколько раз превышает скорость износа остальных участков футеровки ковша.
Авторы изучали характер износа футеровки на ряде заводов СНГ. Интересные экспериментальные данные получены при изучении характера износа футеровки 20-ти тонного ковша в условиях работы завода ДП «УБ и ВТ» (г.Сумы). Ковш футерован штучными периклазоуглеродистыми изделиями фирмы «LWB» (Германия). Огнеупоры шлакового пояса изготовлены из высококачественного периклазоуглеродистого материала следующего состава: MgO > 97,5 %; CaO/SiO2 > 2,0 %; Fe2O3 < 0,5 %; Al2O3 < 0,2%; остаточный углерод 11-12 %, с добавкой 5 % антиоксиданта. Футеровка стен и днища выполнена из рядового периклазоуглерода (MgO > 95,5 %; SiO2 < 1,0%; Fe2O3 < 0,5 %; Al2O3 < 0,2 %; остаточный углерод 5 % ) Характер износа футеровки исследовали при различных методах перемешивания стали. Данные исследований приведены в таблице 3.9.
Соответственно повышенный (критический) износ одной из зон предполагает вывод ковша из эксплуатации с целью локального ремонта футеровки или ее полной замены. Однако полная замена футеровки приводит к значительному увеличению удельных затрат на огнеупоры. Поэтому наиболее рациональной схемой представляется организация конструкции футеровки ковша по мультизональному принципу: использование более прочных огнеупоров в зонах повышенного износа (например, продувочного узла или шлакового пояса) и поддержание кратности стойкости наиболее изнашиваемых зон к общему времени эксплуатации футеровки ковша. Последнее позволяет осуществлять промежуточные локальные ремонты футеровки в ходе эксплуатации.
Таблица 3.9. Примерная скорость износа огнеупоров в различных зонах сталеразливочных ковшей агрегата «ковш-печь» (мм/плавка)

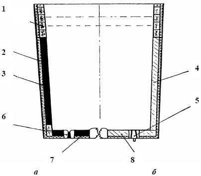
В основу выбора элементов футеровки ковшей для агрегатов «ковш-печь» могут быть положены два альтернативных принципа (рис. 3.10):
- применение для футеровки ковша только кирпичных изделий различной прочности и толщины (рис. 3.10 а);
- использование в рабочем слое наливных тиксотропных масс, которые дают возможность осуществлять общий ремонт футеровки за счет ее многократной доливки (рис.3.10б).
Применение кирпичной футеровки рабочего слоя следует считать традиционной и наиболее рациональной схемой подготовки сталеразливочных ковшей к эксплуатации. Вероятно, в связи с тяжелыми условиями эксплуатации и высокими требованиями к качеству металла, кирпичная футеровка на основе периклазоуглеродистых изделий практически всегда рекомендовалась для агрегатов типа «ковш-печь». Основным недостатком такой футеровки было принято считать ее недостаточную стойкость, которая обычно связывалась с локальным износом отдельных зон футеровки и необходимостью вывода из эксплуатации всего ковша.
Вместе с тем, достигнутые в последнее десятилетие показатели эксплуатационной стойкости огнеупоров на основе магнезита и доломита позволили значительно расширить возможности внепечной обработки в ковше как технологического приема повышения качества стали. Например, в ЭСПЦ Оскольского электрометаллургического комбината средняя стойкость футеровки стен и шлакового пояса сталеразливочных ковшей агрегатов «ковш-печь» (при условии вакуумирования части стали методом DH) составляет около 70 плавок [295]. В практике металлургических заводов Западной Европы известны и более высокие показатели.

Рисунок 3.10. Общая схема футеровки сталеразливочных ковшей агрегатов «ковш-печь» а - кирпичная футеровка; б - наливная футеровка стен и днища ковша; 1 - шлаковый пояс; 2 - кирпичная футеровка стен ковша (периклазографит или магнизитосмолодоломит); 3 - теплоизоляционный слой; 4 - наливная футеровка стен ковша; 5 - продувочный узел; 6 - стакан сталевыпускного отверстия; 7 - днище ковша кирпичное; 8 - днище ковша наливное.
По существу, ведущие производители огнеупоров (а их насчитывается в мире более двух десятков) для сталеплавильной технологии располагают весьма широкими возможностями в части получения огнеупорных изделий с различными эксплуатационными параметрами, что позволяет реализовать принцип равностойкости различных зон ковша. Этот принцип достигается как за счет варьирования номенклатуры (химического состава и механических свойств) изделий, так и за счет разной толщины футеровки в зависимости от скорости износа. На практике это означает, что при выборе огнеупоров первоначально определяется (задается) стойкость наиболее изнашиваемых элементов, стойкость которых определяет эксплуатационные показатели работы ковша в целом. Как показали исследования, такими элементами являются шлаковый пояс и продувочный узел. В настоящее время представляется возможным и экономически целесообразным обеспечивать соотношение стойкости футеровки ковша к стойкости шлакового пояса либо 2:1, либо 1:1.
Аналогичным образом подбираются огнеупоры для днища ковша. При этом стойкость продувочного узла выбирается на уровне стойкости днища или шлакового пояса. Преимущество таким оразом спроектированной кирпичной футерови заключается в уменьшении затрат на промежуточные ремонты, снижении чувствительности футеровки к длиительному пребыванию в ней металла, снижении затрат на огнеупоры за счет использования изделий отечественных производителей в местах, которые меньше подвержены изосу, повышении качества стали т.п. Выбор кирпичной футеровки для ковшей, видимо, следует рекомендовать для агрегатов типа «ковш-печь» 3-8ой группы (табл. 3.2).
Метод изготовления наливной футеровки на основе высокоглиноземистых тиксотропных масс получил распространение в Западной Европе и Японии в последние два десятилетия [296, 297]. На первый взгляд, основным преимуществом различных типов наливной футеровки принято считать высокую степень автоматизации процесса изготовления и последующей подготовки ковшей к эксплуатации, а также возможность периодического ремонта футеровки за счет ее подливки после каждых 40 - 70 плавок. Однако, использование ковшей с наливной футеровкой требует оснащения участка подготовки ковшей специальным оборудованием: смесителями для приготовления наливной массы с выдачей материала и точным дозированием воды, шаблона для формирования внутренней поверхности футеровки, виброустановок для уплотнения бетона, специальных сушильных агрегатов для длительной (в течение нескольких суток) термообработки футеровки по заданному режиму, специального участка в цехе, в котором поддерживается положительная температура в зимнее время и пр.
Между тем, сравнительно быстрый цикл изготовления футеровки ковша (2 - 3 часа) не обеспечивает дальнейших преимуществ в силу того, что длительность периода «выдержка – сушка – разогрев» ковша составляет, по меньшей мере, двое суток. В этих условиях негативным фактором следует считать невозможность оперативного ввода ковша в эксплуатацию, так как персонал цеха должен планировать вывод ковша из работы за 3 - 4 суток, что при значительном износе футеровки представляется достаточно сложной производственной задачей. Наличие эксплуатационного резерва по футеровке у ковша, который запланирован к выводу из эксплуатации, приводит к ситуации, когда либо новый ковш продолжает стоять под разогревом (соответственно происходит потеря топлива), либо приходится выводить из эксплуатации старый ковш, который мог бы еще работать некоторое время (это повышает удельный расход огнеупоров). В условиях мини-завода эта проблема представляется достаточно актуальной, поскольку в обороте одновременно находится ограниченное количество ковшей. Так, для мини-завода с годовым производством 0,6 - 1,0 млн. т стали в год необходимо иметь в обороте 8 - 10 ковшей вместимостью 100 т.
С точки зрения технологии изготовления и эксплуатации наливная футеровка имеет ряд весьма существенных особенностей, которые необходимо учитывать при принятии решения об ее применении:
- обязательная специальная центровка шаблона относительно стенок ковша, которая достаточно часто представляется крайне затруднительной и неэффективной из-за коробления (появления эллиптичности) металлического кожуха ковша в ходе эксплуатации;
- необходимость равномерного прогрева всей поверхности футеровки во время ее сушки, что требует использования специальных горелок и программного обеспечения для функционирования горелок;
- возможность растрескивания футеровки и нарушения ее сплошности на больших участках во время сушки и при первых наливах (вследствие внутренних напряжений и деформации ковша при транспортировке), что затрудняет визуальную оценку эклуатационных возможностей футеровки;
- необходимость тщательной подготовки и ручной очистки футеровки от шлака и металла во время ее промежуточного ремонта и доливки новым слоем бетона; образование трещин в такой футеровке представляется еще более опасным с точки зрения высокой вероятности расслоения бетона.
В определенной степени влияние технологической разнотолщинности футеровки, ее растрескивания и повышенного локального износа удается уменьшить при рациональном выборе толщины футеровки. Лимитирующим звеном при оценке показателей работоспособности монолитной футеровки является ее минимально допустимая толщина, которая обычно принимается в пределах 70 - 80 мм, и минимально необходимая толщина подливаемого слоя, которая из технологических соображений не должна быть менее 60 - 70 мм. Соответственно минимальная начальная толщина монолитной футеровки может колебаться в пределах 140 - 150 мм. Однако работа сталеразливочного ковша с минимальной начальной толщиной монолитной футеровки не может быть признана рациональным решением по следующим соображениям:
- низкая конструкционная прочность ковша из-за недостаточной толщины слоя футеровки;
- высокая вероятность образования сквозных трещин в футеровке вследствие низкой конструкционной прочности ковша (деформация при транспортировке со сталью);
- высокая температурная нагрузка на весь монолитный слой при длительном нахождении в ковше жидкой стали;
- повышенные требования к равномерности износа футеровки из-за малого интервала между допустимым износом футеровки и минимальной толщиной подливаемого слоя.
Увеличение толщины футеровки свыше минимально допустимого слоя представляется рациональным подходом по соображениям повышения надежности и стойкости монолитной футеровки, а также некоторого снижения требований к качеству наливной массы. Однако, повышение толщины наливной футеровки также имеет свои ограничения, которые связаны, в первую очередь, с заданной вместимостью сталеразливочного ковша. Кроме того, утолщение наливной футеровки предполагает удлинение срока ее эксплуатации, что ужесточает общие требования к однородности прочности материала по всей поверхности ковша.
Характерной особенностью большой группы бетонов, используемых для наливки стенок и днища сталеразливочных ковшей является значительное уменьшение (в 1,5 - 2,0 раза) прочностных свойств материала в диапазоне 950 - 1100 °С. По сути, это означает, что в наливной чтифутеровкисталеразливочного ковша всегда имеются зоны которые в большей степени склонны к разрушнию. Эти зоны буду подвергаться растрескиванию, например, при недостаточной жесткости сталеразливочного ковша или его несимметричной нагрузке. Исследования показывают, что такие зоны, пораженные трещинами, находятся на некотором удалении от поверхности контакта футеровки с жидким металлом (35 - 40 мм). Однако в процессе эксплуатации часто происходит отслоение больших кусков футеровки, что можно рассматривать как подтверждение наличия зон футеровки, пораженных внутренними трещинами. В меньшей степени подвержены растрескиванию бетоны с высоким содержанием оксида алюминия (более 90 %).
Основные технологические свойства тиксотропного корундо-шпинельного бетона с экзотермическим эффектом выглядят следующим образом:
- предельная температура применения 1750 оС;
- гранулометрический состав 0-6 мм;
- тип связки гидрохимический;
- метод подготовки футеровки вибрационный;
- длительность периода сушки и нагрева ковша (до температуры 1000 оС) 50 ч;
- требуемая плотность материала 2,8 кг/дм3;
- требуемое количество воды 4-5 л/100 кг;
- прочность (сжатие) при норм. температуре >25 Н/мм2;
- прочность (сжатие) при 110 оС >25 Н/мм2;
- прочность (сжатие) при 1000 °С ~50 Н/мм2;
- прочность (сжатие) при 1450 °С >90 Н/мм2;
- прочность (изгиб) при норм. температуре ~6 Н/мм2;
- прочность (изгиб) при 110 °С 6 Н/мм2;
- прочность (изгиб) при 1000 °С ~7,5 Н/мм2;
- прочность (изгиб) при 1.450 °С ~9-10 Н/мм2;
- линейное изменение размеров при 1600 °С - 0,17 %;
- линейное изменение размеров при 1650 °С - 0,10 %;
- теплопроводность:
- при 200 °С 2,85 Вт/(м*К);
- при 600 °С 2,55 Вт/(м*К);
- при 1000 °С 2,40 Вт/(м*К);
- при 1000 °С 2,50-2,60 Вт/(м*К);
- химический состав,%:
- Al2O3 - 91;
- CaO - 1,0;
- MgO - 6,0;
- Fe2O3 < 0,1.
Сравнение некоторых эксплуатационных показателей наливной футеровки стен ковша вместимостью 130 тонн при разной толщине рабочего слоя (среднее время пребывания металла в ковше от окончания выпуска до начала разливки 2,4 - 2,7 часа) представлено в табл.3.10.
При этом скорость износа различных зон футеровки ковша имела следующие значения: бойная зона стенки – 3,5 - 3,7 мм/плавку; зона контакта стенки с восходящими потоками – 2,2 - 2,5 мм/плавку; зона контакта стенки с нисходящими потоками – 2,0 - 2,4 мм/плавку; остальные зоны стенки – 1,4 - 1,6 мм/плавку; бойная зона днища – 3,2 - 3,4 мм/плавку; зона расположения продувочного узла в днище – 4,5 - 4,7 мм/плавку; остальное днище – 2,6 - 2,8 мм/плавку; зона восходящих потоков шлакового пояса – 5,5 - 5,9 мм/плавку; зона нисходящих потоков шлакового пояса – 4,9 - 5,1 мм/плавку; остальные участки шлакового пояса по периметру (в области максимальной эрозии) – 3,1 - 3,3 мм.
Таблица 3.10. Влияние толщины рабочего слоя футеровки на ее эксплуатационные свойства

Как видно из приведенных данных, оптимальная величина толщины стен монолитной футеровки, видимо, может быть принята в пределах 180 - 200 мм. Однако и в этом случае представляется целесообразным применение дополнительных мероприятий по горячему ремонту наиболее изнашиваемых частей футеровки, которые позволяли бы оперативно корректировать локальный износ без охлаждения ковша.
Другим крайне важным элементом футеровки сталеразливочного ковша для агрегатов «ковш-печь» является зона шлакового пояса. Известно, что износ огнеупоров в зоне шлакового пояса для таких ковшей является достаточно быстрым, и часто именно критический износ футеровки зоны шлакового пояса становится причиной вывода ковша из эксплуатации. Повышенный износ огнеупоров в этой зоне обычно связывают с развитием следующих факторов:
- использование активного синтетического рафинирующего шлака с высоким содержанием извести и плавикового шпата;
- применение электродугового подогрева металла в ковше, что значительно повышает температуру шлака и его агрессивность по отношению к футеровке;
- длительное нахождение футеровки в условиях контакта со шлаком (порядка нескольких часов) при каждом наливе и термоциклический характер работы шлакового пояса;
- интенсивное перемешивание шлака вследствие продувки металла аргоном.
На практике наибольшее распространение для зоны шлакового пояса получили периклазоуглеродистые изделия с содержанием MgO более 97%. Определенное влияние на стойкость шлакового пояса также оказывает требование проведения вакуумирования стали в ковше.
Наиболее характерные свойства периклазоуглеродистого кирпича с высоким содержанием плавленого магнезита с добавлением комбинированных антиоксидантов и органической (полимерной) связки выглядят следующим образом:
- химический анализ,%:
- MgO > 97,5;
- CaO < 2,0;
- SiO2 < 0,5;
- Fe2O3 < 0,5;
- Al2O3 < 0,2;
- СаО/SiO2 > 2;
- остаточный углерод, мас.% > 12;(сверх 100%)
- физические свойства (при нормальной температуре):
- кажущаяся плотность 2,99 г/см3;
- пористость открытая < 5,0%;
- прочность при комнатной температуре >25 Н/мм2;
- физические свойства (при температуре 1000 °С): кажущаяся плотность 2,97 г/см3;
- пористость открытая < 8,0 %;
- прочность при комнатной температуре >30 Н/мм2;
- термическое расширение 1,1 %;
- теплопроводность (при температуре 1000 оС) 7 Вт/мК;
- теплоемкость в диапазоне 20-1000 оС 1,38 кДж/кгК.
При рациональной эксплуатации ковша стойкость шлакового пояса может составить 50 - 70 плавок и более, а согласование стойкости стен ковша и шлакового пояса обычно достигается путем регламентирования марки кирпича и толщины футеровки шлакового пояса. При этом наиболее предпочтительными вариантами следует считать либо равную стойкость шлакового пояса и стен ковша (преимущественно для ковшей с кирпичной футеровкой стен), либо использование двух шлаковых поясов для одного цикла эксплуатации футеровки стен (предпочтительно при использовании монолитных бетонных футеровок).
Функционально важным и аварийно опасным элементом футеровки ковша является его днище. Характерной особенностью эксплуатации футеровки днища сталеразливочного ковша является ее контакт с падающей при выпуске струей стали, которая интенсивно размывает футеровку в месте контакта. С другой стороны, футеровка днища ковша обязательно имеет определенные конструктивные ослабления, которые формируются в местах установки продувочных узлов и сталевыпускных стаканов. Таких отверстий в футеровке днища ковша может быть от 2 до 4 штук. При этом каждое отверстие оформляется специальным набором керамических изделий, которые имеют свою скорость износа и свои коэффициенты линейного расширения материала. В условиях различных температурных деформаций отдельных элементов футеровки днища это приводит к неравномерности распределе-ния внутренних напряжений и повышает вероятность появления трещин и разрушений футеровки днища на всем протяжении периода эксплуатации.
Поэтому в большинстве случаев стойкость футеровки днища как функционального элемента ковша оказывается значительно ниже, чем футеровки стен ковшей даже в случае использования специальных утолщений из более прочных материалов. Достаточно часто стойкость днища ковша принимается равной стойкости футеровки шлакового пояса, что обеспечивает возможность их одновременного промежуточного ремонта.
При конструировании днища ковша и задания его эксплуатационной стойкости необходимо принимать во внимание стойкость продувочного узла. Безусловно, стойкость должна быть эквивалентна стойкости днища. Так как без нормального функционирования продувочного узла невозможно безаварийное проведение обработки в печи ковше, к системе продувки предъявляются очень жесткие требования по надежности. В настоящее время ведущими производителями разработаны высококачественные и высокоэффективные щелевые продувочные блоки. Как показывает опыт промышленной эксплуатации, щелевая продувочная пробка (рис. 3.11) является наиболее эффективным техническим решением, которое удовлетворяет условиям работы агрегатов «ковш-печь».

Рис.3.11. Общий вид продувочной пробки (укрупнено изображен механизм подавления «обратного» удара)
На практике к продувочной пробке предъявляются следующие основные требования:
- гомогенизация металла (продувка с большим расходом га-за) и его рафинирование (продувка с малым расходом);
- высокая стойкость к износу от тепловых ударов и других факторов;
- сопротивление проникновению жидкой стали и шлака в поры;
- надежность в работе в начале продувки и безаварийность;
- легкость в обслуживании и подготовке к работе.
Продолжительность работы продувочных узлов зависит от различных факторов: длительности продувки, давления газа, условий эксплуатации, проникновения стали в каналы, наличия операции «промывки» пробки кислородом, качества огнеупорного материала и пр.
Для обеспечения стабильности процесса продувки на практике широко используются многощелевые продувочные узлы. В таких пробках высокая и низкая скорость потока газа может быть отрегулирована путем изменения геометрических параметров поперечного сечения. В целях предотвращения проникновения стали толщина провочныканалов регламентируется в определенных пределах (например, фирма «LWB Refractories» рекомендует щели размером не более 0,125 мм).
Расход газового потока обычно ограничен размером поперечного сечения пробки на горячей стороне. Для рационального распределения износа и во избежание формирования крупных пузырьков (образующихся близко друг к другу во время инжекции) целесообразно иметь большую величину поперечного сечения. Поэтому предпочтение отдается конусовидным форматам с диаметром горячей стороны на уровне 60 мм.
Обычно продувочные пробки имеют стальной кожух толщиной 0,8 - 1,0 мм. Большинство пробок изготавливается из высокоглиноземистых материалов с добавлением шпинели. Каналы формируются путем выпаривания или выгорания во время сушки проволоки, ленты или сетки, установленной в месте будущего местоположения каналов. Более сложное устройство имеет сегментная пробка, где есть формованные сегменты с канавками, которые залиты бетоном. Пробки в обязательном порядке должны быть оборудованы индикатором остаточной толщины, предупреждающим о невозможности дальнейшей эксплуатации пробки.
Продувочные пробки размещаются на достаточно большом расстоянии от зоны падения струи металла. Рекомендуется устанавливать пробки на расстоянии от половины до двух третьих радиуса днища. Принято считать, что продувочные узлы лучше располагать на одном радиусе с шиберным затвором, но на удалении в 90 - 120° от него. В целом более точную информацию об оптимальном расположении продувочных узлов удается получить при проведении изысканий на физической и математической моделях, с последующим уточнением в промышленных условиях. Это обеспечивает оптимальные энергетические режимы продувки.
Установка пробки производится в горизонтальном положении ковша после его разогрева. На боковую поверхность пробки наносится раствор. Устанавливают пробку вручную при помощи трубы и молотка или посредством специальных приспособлений. Установленную пробку прижимают на короткий промежуток времени - до испарения воды из раствора.
Для обеспечения надежной работы пробок их следует проверять перед каждой плавкой:
- сразу после разливки ковш необходимо освободить от остатков шлака и подсоединить линию азота высокого давления к пробке;
- открыть газ;
- визуально (по искрению) контролировать проход газа через пробку (допускается для этих целей применять природный газ, а проходимость при этом определяется по выходу пламени);
- в случае непроходимости газа необходимо осторожно очистить поверхность пробки кислородом при одновременной подаче азота или природного газа сквозь пробку.
Кроме износа продувочного узла необходимо принимать во внимание возможность повышенного износа футеровки днища в области расположения пробки. Износ в этом месте, видимо, следует связывать с турбулизацией потоков стали в области инжектирования газа, а также динамическими процессами, сопровождающими отрыв пузырьков газа от поверхности пробки. Традиционно это место принято усиливать посредством применения более прочных материалов (специальный огнеупорный кирпич и гнездовой блок).
При использовании монолитного бетонного днища (в 130-тонном ковше), с целью снижения затрат, гнездовые участки для установки продувочного блока и стакана выпускного отверстия оформляют из материала днища с использованием специальных шаблонов.
Выполненные исследования показали, что в этом случае положительный эффект достигается только при применении бетонов с высокой механической прочностью. В противном случае разрушения футеровки в зоне установки пробки и сталевыпускного стакана оказываются такими большими, что это требует проведения специального профилактического ремонта, включающего дополнительную подливку днища. Это нарушает нормальный ритм эксплуатации ковшей и требует, как минимум, повышения их количества. Следовательно, при использовании монолитной футеровки днища ковша дополнительно следует согласовывать его эксплуатационные свойства со стойкостью продувочного узла.
Таким образом, при проведении комплексной внепечной обработки стали происходит значительный неравномерный износ отдельных частей футеровки сталеразливочного ковша. Для повышения эффективности службы футеровки ковша целесообразно гармонизировать работу наиболее изнашиваемых ее элементов, что обеспечит возможность организации локальных ремонтов. Применение наливных монолитных футеровок для стен и днища ковша имеет ряд специфических особенностей, которые связаны с характером их эрозионного износа и растрескивания рабочего слоя.