Процессы производства крупных слитков улучшенного качества
Полунепрерывная разливка слитков
В основе метода полунепрерывной разливки стали в слитки лежит принцип радиально-направленного теплоотвода при затвердевании заготовки стали в медном водоохлаждаемом кристаллизаторе и затем ниже, в зоне вторичного охлаждения. Фактически этот метод предполагает разливку одного ковша стали на сечение (круг, квадрат, сляб и т.п.), приближенное к конечной продукции с учетом последующей горячей деформации.
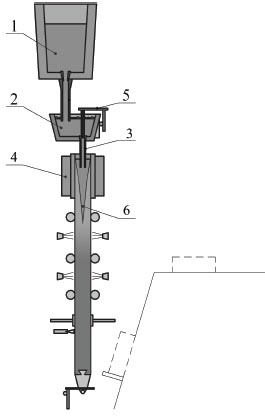
Принципиальная схема разливки стали на машине полунепрерывной разливки стали (МПНЛЗ) с вертикально расположенной осью показана на рис.7.4. Металл из сталеразливочного ковша 1 подается в медный водоохлаждаемый кристаллизатор 4 через промежуточный ковш или приемную воронку 2, оснащенные погружным стаканом 3. При этом кристаллизатор с помощью специального механизма 5 совершает возвратно-поступательные движения с определенной частотой и амплитудой. Заготовку 6 вытягивают из кристаллизатора в зону вторичного охлаждения с помощью затравки посредством тянущей клети. Ход затравки определяет длину заготовки, и при данном размере ее сечения, количество ручьев и массу плавки, которую можно разлить на машине. Разливка заканчивается с прекращением движения затравки. В этом положении заготовка охлаждается до нормальной температуры.

Рисунок 7.4 – Схема литья на вертикальной МПНЛЗ: 1 – ковш, 2 – воронка, 3 – стакан, 4 – кристаллизатор, 5 – стопорный механизм, 6 – заготовка
Продолжительность разливки на МПНЛЗ обычно составляет 20-50 минут. Выдача заготовки из машины производится путем ее кантовки из вертикального положения в горизонтальное на рольганг 8. В настоящее время имеется большой промышленный опыт отливки заготовок на установках МПНЛЗ вертикального типа крупных слитков длиной 7-9 м и массой до 30-50 т.
При разливке на несколько ручьев металл распределяют по кристаллизаторам через промежуточный ковш или футерованный желоб. При этом промежуточный ковш имеет несколько (по числу ручьев) независимых стопорных устройств, что позволяет регулировать расход металла в каждый кристаллизатор. Зеркало металла в промежуточном ковше покрывают теплоизолирующей смесью, что обеспечивает снижение тепловых потерь.
Для отливки крупных слитков широкое распространение получил способ подвода металла под уровень в кристаллизаторе через удлиненные погружные стаканы. Огнеупорный материал погружных стаканов (обычно корундографит или плавленый кварц) должен выдерживать термические удары, быть стойким против химического воздействия металла и шлака и не терять прочностных свойств при высоких температурах. Погружные стаканы могут быть изготовлены прямоточными с одним центральным выходным отверстием или глуходонными с двумя или четырьмя боковыми отверстиями. Боковые отверстия обеспечивают поступление горячих порций металла ближе к мениску, что дает более равномерное формирование твердой корочки заготовки. Для усиления этого эффекта боковые отверстия иногда располагают под углом 10-15° к горизонтали.
Технологический процесс полунепрерывного литья слитков включает подготовительные операции, непосредственно разливку металла, охлаждение слитка и выдачу его из МПНЛЗ.
К числу подготовительных операций на МПНЛЗ относится предварительный подогрев футеровки промковша до температуры 700-800оС и установка его на рабочую позицию. Для обеспечения старта процесса разливки во внутренней полости кристаллизатора на высоте 0,5-0,7 общей его длины устанавливается специальная затравка. Зазор между затравкой и кристаллизатором уплотняют асбестовым шнуром или огнеупорной массой. На затравку укладывают металлические холодильники, которые обеспечивают быстрое затвердевание головной части слитка и, соответственно, начало вытягивания заготовки.
Начало разливки осуществляют следующим образом. Заполняют жидкой сталью промежуточный ковш. После заполнения его на 30-50% поднимают стопор и начинают заполнять металлом кристаллизатор. В процессе наполнения кристаллизатора на зеркало металла подают шлакообразующую смесь, которая выполняет функцию защиты зеркала металла от вторичного окисления и тепловых потерь. Кроме того, при расплавлении шлакообразующей смеси она выполняет функцию смазки между стенкой кристаллизатора и поверхностью заготовки.
После заполнения кристаллизатора и формирования достаточно прочной твердой оболочки заготовки включают механизм качания кристаллизатора и тянущую клеть для вытягивания заготовки. Разливка ведется с постоянной скоростью вытягивания, которую выбирают в зависимости от сечения заготовки, температуры стали и ее химического состава. Для заготовок с линейными размерами сечения от 300 до 400 мм скорость вытяжки составляет примерно 0,15-0,50 м/мин, а для заготовок с линейными размерами от 520 до 670 мм – 0,10-0,20 м/мин. В верхней части зоны вторичного охлаждения отвод тепла от заготовки осуществляется путем разбрызгивания на ее поверхность воды, а в нижней – путем охлаждения на воздухе.
Завершение процесса разливки на МПНЛЗ происходит путем перекрытия подачи металла из промковша в кристаллизатор и остановки движения заготовки. В этом положении полученный слиток завершает свое охлаждение. При этом в верхней части слитка формируется усадочная раковина, размеры которой оказываются достаточно большими. В результате этого до 10% от всего металла слитка идет в отходы.
Завершение процесса разливки на МПНЛЗ происходит путем перекрытия подачи металла из промковша в кристаллизатор и остановки движения заготовки. В этом положении полученный слиток завершает свое охлаждение. При этом в верхней части слитка формируется усадочная раковина, размеры которой оказываются достаточно большими. В результате этого до 10% от всего металла слитка идет в отходы.
С целью сокращения протяженности усадочной раковины рекомендуется после окончания процесса разливки быстро выводить слиток из кристаллизатора в зону интенсивного вторичного охлаждения. При этом объем уже затвердевшего металла под действием системы охлаждения сокращается, что компенсирует усадку жидкой сердцевины. Однако, такая технология не всегда целесообразна для получения крупных слитков вследствие повышения вероятности образования в них осевых усадочных дефектов типа «мост».
Одним из эффективных способов уменьшения глубины усадочной раковины является понижение скорости вытягивания слитка в конце процесса разливки, что в сущности является усовершенствованием метода доливки металла. Однако, этот способ имеет определенные ограничения в связи с возможным ухудшением качества поверхности слитка при его медленном вытягивании из кристаллизатора.
После охлаждения слиток извлекается из МПНЛЗ, и она подготавливается к следующей разливке. Известны различные способы извлечения слитка. Например, слиток может разрезаться на мерные длины и подниматься вверх с помощью специального подъемного устройства.
Таким образом, технология разливки стали на МПНЛЗ включает в себя как элементы технологии непрерывной разливки, так и элементы разливки в изложницы. Соответственно процесс полунепрерывного литья предопределяет своеобразные условия формирования слитка: если при непрерывном литье затвердевание заготовки по сечению заканчивается непосредственно в процессе разливки, то при полунепрерывном литье полное затвердевание заготовки заканчивается спустя некоторое время после окончания разливки. Следовательно, формирование наружных слоев заготовки происходит аналогично процессу непрерывного литья, а сердцевина затвердевает как в слитке, отлитом в изложницу. Такой характер затвердевания в сравнении с процессом формирования слитков в изложнице повышает физическую и химическую однородность металла, но в сравнении с непрерывным литьем вызывает развитие ликвационных явлений и усадочной раковины.
В целом метод полунепрерывной разливки металла получил достаточно широкое распространение при производстве сплошных и полых заготовок для машиностроения (прежде всего, это относится к круглым и квадратным профилям). Достоинством метода полунепрерывного литья для таких слитков является возможность получения качественных слитков и заготовок с широким диапазоном типоразмеров и массы. При этом использование МПНЛЗ дает возможность производить и разливать достаточно небольшие порции металла, которые определяются единичной производительностью плавильного агрегата. Дополнительным преимуществом МПНЛЗ является возможность ее расположения непосредственно в сталелитейном цехе конкретного машиностроительного завода, что позволяет переплавлять легированные отходы, накапливающиеся на предприятии в результате обработки заготовок резанием.
Весьма широкое распространение метод полу непрерывной разливки получил в цветной металлургии. При литье слитков тяжелых цветных металлов и сплавов наибольшее распространение получили вертикальные МПНЛЗ с опускающимся с постоянной скоростью столом, имеющим винтовой привод. Полученные слитки предназначаются для последующей обработки давлением с целью выпуска деформированных полуфабрикатов.