Формирование крупного стального слитка
Методы исследования процесса кристаллизации стальных слитков
Требования к качеству крупных слитков непрерывно растут вместе с ростом требований к надежности получаемых из них изделий. Неоднородность размеров, формы и распределения кристаллов в объеме слитка, пористость и химическая неоднородность являются основными проблемами при получении качественного слитка.
Методы исследования процесса затвердевания стальных слитков подразделяются на разрушающие (требующие отбраковки или порезки слитков) и неразрушающие.
К первой группе методов относятся: термический анализ металла внутри изложницы или в ее стенке, опрокидывание изложницы (выливание жидкого остатка), ввод индикатора и т.п.
Метод измерения температуры металла в различных точках затвердевающего слитка широко применялся для определения температурных градиентов и кинетики продвижения фронта кристаллизации в слитках различной массы.
Особые требования при этом предъявляют к устройству термопар. Термопары должны быть насколько возможно малыми как по объему, так и по массе, с тем, чтобы не нарушать термические условия внутри слитка и обеспечить быстрое реагирование на изменение температуры (минимальную инерционность). Вместе с тем, они должны быть соответствующим образом защищены от воздействия жидкого металла и жестко закреплены. Выполнение этих требований связано с техническими трудностями, ограничивающими возможности метода.
Обычно термопары вводят в изложницу до разливки через специальные отверстия в боковой поверхности или сверху через прибыльную часть. Введение термопар через отверстия в боковой поверхности изложницы возможно только для слитков небольшой массы, где явления усадки не получают значительного развития. Для крупных слитков ввод термопар осуществляют сверху через прибыльную часть. Однако, в связи с тем, что необходимо обеспечить достаточную механическую прочность всей измерительной системы при длительной выдержке в жидкой стали, защита термопар получается громоздкой, а вся система обладает большой тепловой инерцией.
Более объективную информацию о температуре незатвердевшего ядра слитка позволяет получать метод термического зондирования с применением малоинерционных термопар. Сущность метода состоит в том, что термопару, защищенную кварцевым колпачком с толщиной стенки 0,5 мм погружают в металл на короткое время (не более 1 мин), достаточное для снятия устойчивых показаний. Каждое измерение выполняют индивидуальной (одноразовой) термопарой, необходимое число термопар готовят заранее. Погружение термопар в заданную точку жидкой сердцевины слитка осуществляют с помощью специального устройства.
Метод измерения температур в затвердевающем слитке отличается значительной трудоемкостью и, как правило, связан с большими потерями металла, идущего на отливку опытных слитков. Поэтому в настоящее время для исследования процесса кристаллизации слитков чаще пользуются косвенным методом, основанном на измерении температур и тепловых потоков в изложнице.
Для измерения температуры поверхности слитка в изложнице сверлят отверстия диаметром 18-20 мм. Перед проведением замеров отверстия в изложнице закрывают холостыми пробками, длину которых подгоняют индивидуально в зависимости от глубины отверстий. После окончания заливки металла холостые пробки извлекают из отверстий, а на их место устанавливают датчики температуры с прижимными устройствами. Постоянное усилие прижима спая термопары к поверхности слитка обеспечивается грузами.
Для получения прямых данных о процессе роста твердой фазы на практике используют так называемый метод выливания жидкого остатка (опрокидывания изложницы). Между тем, этот метод не позволяет определить фронт кристаллизации в том объеме твердой корки, которая в виде сплошного фронта фиксируется моментом выливания, поскольку жидкая сталь, заключенная в капиллярах, образованных осями растущих дендритов, при опрокидывании не вытекает. Кроме того, при опрокидывании удаляется содержащая кристаллы двухфазная область жидко-твердого состояния стали, которая в связи с этим не учитывается также как и обломки дендритов твердожидкой зоны. Можно принять, что этим методом определяется так называемая «граница выливаемости» на ранних стадиях затвердевания. Определение же времени полного затвердевания слитка этим методом невозможно. Следует также отметить высокую стоимость этого метода, что не позволяет его использовать для исследования процесса кристаллизации крупного слитка.
Более широкие возможности по исследованию характера продвижения фронта затвердевания в слитке может обеспечить метод введения в металл специальных индикаторов, например на основе радиоактивных изотопов или элементов-примесей растворимых в жидкой стали и легко выявляемых химическим анализом (сера, молибден и т.п.).
Применение радиоактивных изотопов основано на том, что изотоп распространяется только в жидкой части слитка. На практике этим методом исследовали кинетику продвижения фронта затвердевания в слитках различной формы массой от 3 до 30 т. Однако, метод радиоактивных изотопов имеет определенные ограничения в силу того, что изотоп не проникает в двухфазную зону и фиксирует только объем жидкой фазы.
Обычная методика использования радиоактивных изотопов состоит в том, что, в жидкую сердцевину затвердевающего слитка вводят на штанге через определенные интервалы времени порции радиоактивного изотопа (Р32 с периодом полураспада 14 суток или J2192 – аналогичный период 75 суток). За счет конвективных потоков индикатор распространяется во всем объеме жидкого метала и фиксирует границы жидкой области слитка. Оценка границ распространения радиоактивных изотопов производится путем снятия авторадиограмм с продольных и поперечных темплетов (плит) после разрезки слитка. С этой целью на темплеты, вырезанные из опытных слитков, накладывают рентгеновскую пленку, которую экспонируют несколько суток. После проявления пленки зоны повышенной радиоактивности дают бoльшую плотность почернения негатива.
Исследование радиоактивных зон опытных слитков показало следующие особенности. Если не считать некоторых локальных аномалий, радиоактивность в зараженной зоне равномерна в макромасштабе. Это подтверждает, что радиоактивные изотопы очень быстро распространяются в жидкой части слитка конвективными потоками.
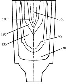
На многих радиограммах в верхней части участок с очень высокой радиоактивностью отмечается на границе с нерадиоактивной зоной. Это объясняется тем, что радиоизотоп, введенный по центру в прибыль, вначале поднимается восходящими потоками к зеркалу металла в прибыли, а затем опускается вниз вдоль фронта затвердевания. Небольшая часть этой радиоактивной жидкости захватывается в то время, когда она проходит мимо растущих кристаллов, и принимает участие в их росте. Большая же часть изотопа распределяется по всему объему жидкого металла. На рис. 3.1 показаны границы радиоактивных зон в 30-т кузнечном слитке по данным работы А. Кона.
В целом очертания сторон радиоактивной зоны почти параллельны наружной поверхности слитка и могут рассматриваться как изотермические линии. Форма нижней части радиоактивной зоны зависит от момента, в который радиоизотоп вводится в слиток. Если добавку вводили вскоре после заливки изложницы, то граница раздела внизу горизонтальна и параллельна изотермам. Это одинаково справедливо для 3,5-т и 30-т слитков. Если изотоп добавляли позднее, то нижняя граница радиоактивной зоны не имела точных очертаний. Граница приближается к сферической, уширенной кверху, но эта сфера не соединяется непосредственно с боковой стенкой. В этом случае имеет место переходная зона неправильной геометрической формы.
Если же изотоп добавляли еще позднее (свыше 3 часов с начала затвердевания для 30-т слитка), то граница между радиоактивной и нерадиоактивной зонами приобретает форму конуса, обращенного вершиной вниз, и он плавно переходит в цилиндрические вертикальные линии.

Рисунок 3.1 - Границы радиоактивных зон в 30-т кузнечном слитке при различном времени затвердевания металла по данным работы А. Кона (цифры у кривых – время ввода изотопа, мин)
Для выявления конфигурации твердо-жидкой зоны представляется возможным использовать метод микровзрывов, существо которого заключается в том, что при периодическом введении ампул (зарядов) с небольшим количеством взрывчатого вещества (1-5 г) в жидкую сердцевину слитка в результате гидравлического удара происходит практически мгновенное уплотнение дендритной структуры и выдавливание ликватов из междендритных промежутков двухфазной зоны. На серном отпечатке продольного темплета такого слитка легко выявляются белые полосы отрицательной ликвации серы, а на поперечных темплетах от слитка и проката – серия “ликвационных квадратов”, соответствующих моментам ввода зарядов.
Преимущество метода состоит не только в его быстродействии по сравнению с методом ввода индикатора (усвоение последнего объемом жидкого ядра требует определенного времени), но также в неограниченности числа вводов зарядов в слиток вплоть до распространения твердо-жидкой зоны на весь объем. При исследовании этим методом процесса кристаллизации в горизонтальных сечениях можно обойтись без порезки слитка, отбирая пробы от готового проката. Металл в этом случае не загрязняется примесями и направляется по основному назначению, то есть метод является неразрушающим.
Определенные возможности для изучения процесса формирования крупных слитков предоставляют неразрушающие методы дифференцированного и горизонтального зондирования, предложенные в работах С.Я.Скобло и Е.А.Казачкова. Сущность первого метода состоит в погружении в слиток стального прута с дифференцируемым усилием (в начале - без усилия, а затем - с максимальным нажимом). Такой прием позволяет определять высоту твердой, двухфазной и жидкой зоны, а также усадку. Металл, намороженный на пруток, после очистки от окалины используется для оценки изменения химического состава по высоте незатвердевшей зоны слитка. Серьезным недостатком метода является субъективность в фиксировании усилий проникновения стального прута в жидко-твердой зоне. При этом твердо-жидкая зона воспринимается экспериментатором как твердая.
Метод горизонтального зондирования заключается в измерении угла отклонения стального прута от вертикали при соприкосновении с фронтом горизонтального затвердевания. Очевидно, таковым является граница жидко-твердой зоны. При измерении этим методом на верхнюю часть изложницы или прибыльной надставки помещают приспособление, позволяющее измерять угол отклонения от вертикали стального прута, поворачивающегося в специальном гнезде приспособления. Точность измерения угла отклонения зонда составляет 0,5 градуса, что соответствует погрешности измерения толщины затвердевшего слоя в 6%. Недостатком метода является погрешность, вызываемая намораживанием металла на прут, а также деформация последнего. Вместо стального прута возможно использование металлокерамического щупа (сплав молибдена с оксидом циркония, который почти не подвергается воздействию жидкой стали при температуре до 1800 оС и очень плохо смачивается сталью).
Видимо, наиболее полная информация о процессе затвердевания стального слитка может быть получена при одновременном использовании нескольких экспериментальных методов. Однако, такой подход чрезвычайно усложняет и удорожает экспериментальную часть исследования в случае работы с крупными слитками.
Рассмотренные выше прямые экспериментальные методы исследования процесса затвердевания стальных слитков достаточно трудоемки и связаны в большинстве случаев со значительными материальными затратами и потерями металла. Поэтому при конструировании крупных стальных слитков для предварительных исследований пользуются методами моделирования.
Моделирование проводят на физических моделях с использованием прозрачных легкоплавких жидкостей или на компьютерах (математическое моделирование) путем численного решения дифференциальных уравнений, описывающих процессы тепло-массообмена в слитке.